They are looking fantastic Bert.
Peter-This is what the underside of the M1114 looks like with the correct armour, rear winch and its cover. I had to make it myself.
And the rest has been coloured…
And this is what it looks like when I place them together…
And each time I was left with a spray cup with a lightened colour, I grabbed something to empty it on…
Thanks Piotr, great references for me. Once again, I really appreciate your help.
My pleasure. When it comes to humvee I will always try to help.
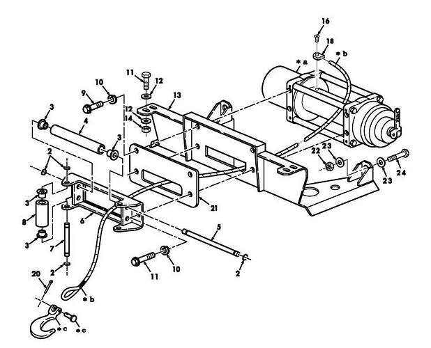
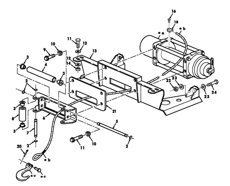
In case anyone else is interested, a diagram from TM-9-2320-387-24P showing the winch and the brackets, etc to fit it to the M1114:
Finally settled on the plain green paint scheme. I tried the 3 colour camo option but it just didn’t look right. On to weathering next
That does look good in the basic green Colin. Coming along nicely.
Still got the detail painting and perhaps another dry brushing. Then some light weathering given the scene its going in to, just a bit of dust and wet earth
Steyr on the base:
Going to have the passengers come in on the other side as I was unable to get the left side door attached; somehow I got something out of spec and the door would not fit in without force being exerted. Moving the officer to the front right seat from the rear was an easy fix. I should have both of these guys done by the end but my hope is to get the rest of the bunch done as well.
Nice little set up Pez.










































